二手房|今天这套房引热议!不付中介费也能安全卖房,又出新招
8月18日,杭州市二手房交易监管服务平台正式上线“个人自主挂牌房源”功能,这意味着购房者可以绕开中介,直接和房东面对面沟通交易,从而省下一笔可观的中介费,交易成本将大大降低。这消息一出来,甚至冲上了微博热搜第二。
从该功能上线以来至今已经2个多月,目前在杭州二手房交易监管服务平台上,个人自主挂牌房源有2910套(数据截至10月27日上午11:30),但实际成交不如预期。究其原因,“房东直售”更适合熟人之间的一次性付款交易,而一旦涉及到按揭贷款,买卖双方之间的信任问题、按揭过程中的资金安全问题等,都成为绕不过的难题,让交易难以为继。
如何破解“房东直售”所面临的这些难题?就在今天上午,一套位于上城区平海路附近的枝头巷房产,出现在“个人自主挂牌房源”中,这套房源比较特殊的是,它不但提供了杭州市国立公证处出具的房源信息调查报告,而且杭州市国立公证处通过在浦发银行杭州分行开立的资金监管账户提供提存公证服务,并整合浦发银行杭州分行按揭贷款业务资源,从而有效解决买卖双方的信任问题和资金安全问题。
房源信息和不动产调查报告
为购房者提前“排雷”
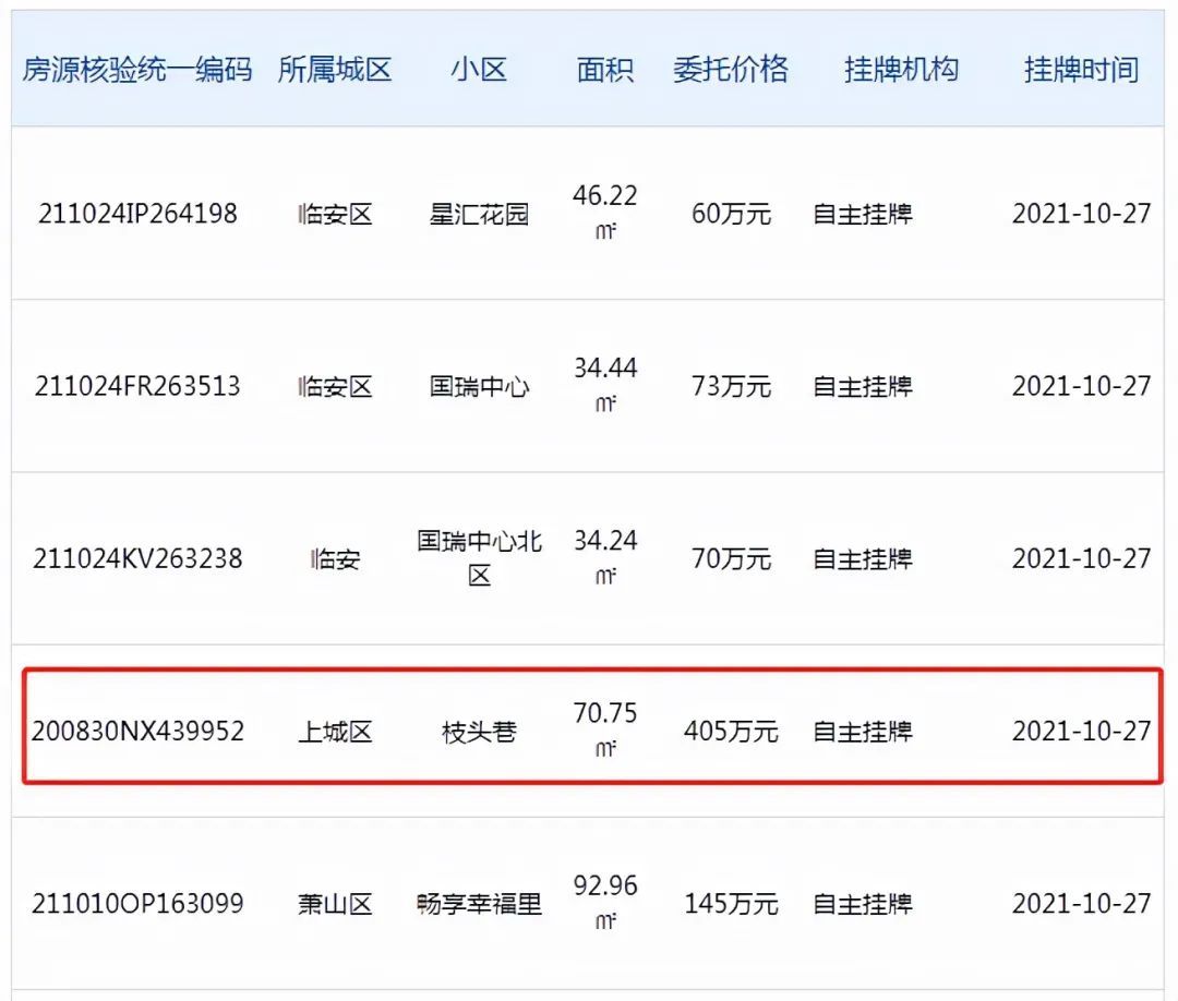
今天上午,钱江晚报.小时新闻采访人员在杭州二手房个人自主挂牌房源中发现,一套新挂牌的枝头巷70.75m2的二手房, 其介绍页面的房源图中,除了户型图和内部实景图外,还提供了一份由杭州市国立公证处出具的《不动产公证调查报告》。
在这份不动产公证调查报告中,详细介绍了这套房源的各项信息内容。比如,房子位于顶楼6楼,户型为两室一厅一厨一卫,产权情况为单独所有(无其他共有产权人),目前为空关无租赁状态,房子没有抵押等受限制情况。房子周边交通、商业、学校、医疗等配套情况等都有详尽阐述,此外,甚至连房子即将安装电梯(已支付电梯安装费)这样的信息都有。
之前,购房者对于“房东直售”房源,最担心的就是房东为了快速卖房,不会提前告知买家房子可能存在的各种不利因素。而由公证机构根据买卖双方的申请意愿,通过大数据调取、现场勘查和市场调查等技术手段,出具房源信息公告和不动产调查报告,为房源信息的真实性提供背书,相当于帮购房者提前“排雷”,避免交易中存在的一些风险。
此外,杭州推出“个人自主挂牌房源”以来,不少尝鲜自主挂牌的房东表示,房源挂牌以来,没接到买家电话,反而都是中介打来的,不堪其扰。而枝头巷这套房源,联系方式留的是公证机构工作人员的电话,这在很大程度上保护了房东的个人隐私,并且过滤掉相当一部分的中介电话。
按揭也要签《资金监管协议》
交易成本相比中介费大幅降低
在这套房源的信息介绍中,提到房东接受的支付方式既可以是一次性付款,也可以按揭贷款。那么,按揭贷款是如何在保证资金安全的情况下来进行的?
杭州市国立公证处的工作人员表示,当买卖双方达成交易意向后,公证处指导双方签订《意向协议》和《资金监管协议》。《资金监管协议》中根据付款方式的不同(一次性付款或按揭付款)约定房款拨付的要求与条件。
推荐阅读
- |最高暴涨70万!宁波二手房市场即将回暖?
- 施工者|不管家多大,装修时做好这12处细节,美观与舒适并存,幸福感提升
- 大悦城|家里这两个地方别漏了贴瓷砖,许多人为了省钱,入住就后悔了
- 贷款|5月起,“2道铁令”,今后这1种买房方式再也行不通了
- 灰尘|家中阳台不要装推拉门了,装这种更实用个性,不得不感叹太聪明了
- 管道|为什么说:再穷也不买二层?了解这些弊端之后,就知道多糟心了!
- 小钱|游点好笑!收手机的新方式,一抓一个准!这老师怕是柯南看多了?
- 餐边柜要做成什么样子才实用又好看看看这几款餐边柜设计
- 集体经济|征拆赔款找,查了才知有这么“多”…
- 房贷|“重启”拆迁?这2类房子或全拆重建,两类人受到影响
