圆歌|魏少军“切分”隆基泰和
??文/乐居财经 林振兴
??这一轮寒冬,对于区域性房企是一重劫难。
??无论是河南一哥的建业、四川一哥蓝光,还是环京一哥华夏幸福,虽然他们在各自负责的“辖区”呼风唤雨,深耕数十载,但一旦过度重仓,也可能让开发商陷入系统性风险。
??眼下,这位聚焦环京的大地主——隆基泰和,它的日子也不如以往。10月13日,商票兑付平台信息显示,隆基泰和置业旗下2家全资子公司出现商票逾期,包括邯郸市梦湖房地产开发已逾期16天,邯郸市龙瑞房地产开发已逾期15天。
??与此同时,下半年至今隆基泰和置业一连抛售数家公司。一部分是魏少军给女儿的嫁妆;另一部分则是他忍痛“割肉”予他人。
??频繁梳理旗下资产,魏少军有何意图?
??据隆基泰和内部员工透露,转予魏娜,是因为进行资产(风险)切割。另外不断梳理资产,一方面7、8月确实听说要上市。但除了上市可能,隆基泰和资金可能有一定问题。
??给女儿“嫁妆”
??都说女儿是父亲上辈子的情人,魏少军对魏娜自然也是宠爱有加。今年4月,易水湖项目集中开工仪式举行,许久未现身的魏少军陪伴女儿一起出席,可见对爱女事业的支持。
??而后,魏少军更是频频转让公司予魏娜。
??9月29日,保定田岗易渔渔业有限公司和保定田岗益田农业科技有限公司同时发生股东大换血。变更显示,保定田岗城乡旅游发展有限公司100%退出,北京圆歌农业科技发展有限公司取而代之。
??原股东保定田岗城乡旅游由隆基泰和置业全资持股,穿透可知,魏少军为最终受益人,持股达92.8125%;现股东北京圆歌农业科技则由魏少军之女魏娜旗下的北京圆歌文化产业集团有限公司(简称“圆歌文化产业”)全资持股。
??保定田岗易渔渔业和保定田岗益田农业科技,并不是隆基泰和置业在三季度的唯二“弃子”。
??7月23日,隆基泰和置业退出河北隆泰物业服务有限责任公司,也将其全部股权交由圆歌文化产业。
??官网显示,隆泰物业服务成立于 2002 年,目前接管及前期介入项目已达 70 余个,在管面积逾 1000 万平方米,项目分布于承德、秦皇岛、唐山、廊坊、保定、沧州、石家庄、邯郸、成都、天津等地。
??截至目前,隆泰物业服务对外投资5家全资子公司,分别是河北隆悦贸易有限责任公司、保定隆迪物业服务有限公司、保定未来石物业服务有限公司、高碑店隆耀物业服务有限公司、唐山隆创物业服务有限责任公司(已注销)。
??将如此重要的物业公司,从地产公司剥离,也是目前房企的惯用伎俩。但接盘者圆歌文化产业有何背景?
??圆歌文化产业成立于2019年7月底,注册资本2000万元,初始股东为魏娜和魏少军,各持股99%和1%。
??但在今年8月3日,魏少军将仅持有的1%股权转让予高碑店市优奕文化合伙企业(有限合伙),后者是一家注册2个多月的新公司,注册金20万元,由魏娜和邱姣各持股99.99%和0.01%。
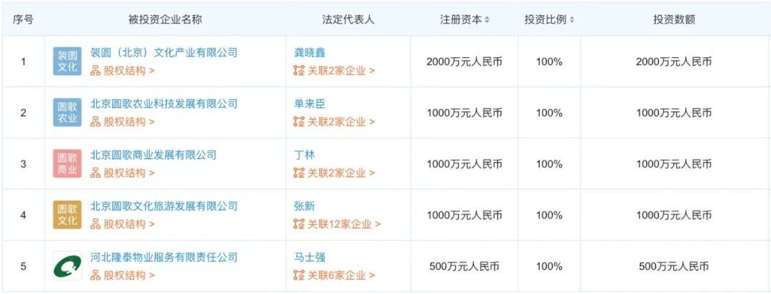
??除了刚接盘的北京圆歌农业科技和隆泰物业服务,圆歌文化产业旗下还拥有3家全资子公司,分别为袈圆(北京)文化产业有限公司、北京圆歌商业发展有限公司、北京圆歌文化旅游发展有限公司。
??内部员工调侃道,上述公司频繁转让算是魏少军给魏娜的“嫁妆”。“因为文旅并不是很赚钱,只有易水湖那一个大项目,所以,后来魏老板又把物业这块也给魏娜。”
【 圆歌|魏少军“切分”隆基泰和】
推荐阅读
- 春节|如果能重来,阳台一定“9不装”,并非迷信,是过来人的经验教训
- 阿里巴巴|宝龙地产“期望”过高 未达销售目标
- 贷款|5月起,“2道铁令”,今后这1种买房方式再也行不通了
- 住宅|现在买房,选“高层”还是“低层”好专家20年后差别很大
- 集体经济|征拆赔款找,查了才知有这么“多”…
- 宝龙地产|银行大厦几十层高,能“物尽其用”吗?各个楼层都是干啥的?
- |“最惨购房者”相关话题登热搜榜首,到底是怎么一回事?
- 房贷|“重启”拆迁?这2类房子或全拆重建,两类人受到影响
- 床头柜|95后姑娘的“穷装”卧室火了,环保又精致,软装的力量真强大
- 房子|越来越多人用这“两个方法”装修房子,可升值十几万!
