法拍房|井喷式成交!上周南昌法拍房成交60套,或成本月最高成交
【 法拍房|井喷式成交!上周南昌法拍房成交60套,或成本月最高成交】关注南昌房管家置业 带你盘点每周之最
上周
南昌法拍房成交60套(京东、阿里)含商业
成交量实现上涨300%
总成交面积为:7205.31㎡;
总成交额为:63,186,311元;
成交数量、成交额、面积均高于上期;
其中多套房产溢价成交

上周法拍房迎来井喷式成交,或成本月最高成交一周
点击图片双击可放大观看
而位于上海庄园路100号279栋的独栋别墅直接溢价近一倍成交;据阿里拍卖显示该标的起拍约为337万,成交价约为832万;
据了解此标的属于第一次拍卖;面积为:370.81㎡,有产证。9人报名,吸引7857人围观,119人设置提醒。
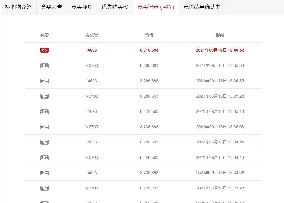
本次竞价详情
竞价高达493次;从337万拍到832万成交
房源实拍



该标的长久没有居住、杂草丛生、老化也比较明显;
据安居客数据显示该别墅房价均价在1万7左右浮动
小区简述
小区为纯别墅区,内有叠墅、联排、双拼、独栋等户型
小区内设游泳池、篮球场、广电幼儿园等;每户均带有车库、车位;周边配套有华润万家、天虹等是商超。整体居民素质非常高,大多是企业高管、高级职工、退休公职人员和在职事业单位人员为主。唯一不足的就是小区建立时间比较久、过户税费较高。
总结
从上周南昌法拍房成交数据来看,由于上拍房源较多、成交量也实现冲高;大多成交房源以同层写字楼为主。仅国恩大厦成交就占比22套;而红谷滩区的一些热门房源如:东方海德堡、绿湖豪城、联发广场、万达星城也均捡漏成交。环比上期的18套成交,直接增加300%。
以上就是上周南昌法拍房住宅成交盘点,这周南昌法拍房成交数据是否会超过上周?欢迎私信留言讨论!
推荐阅读
- 贷款|5月起,“2道铁令”,今后这1种买房方式再也行不通了
- 饱和度|173㎡轻奢新中式,古典和现代的碰撞,唯美浪漫!
- 小钱|游点好笑!收手机的新方式,一抓一个准!这老师怕是柯南看多了?
- 卫生间|129平现代美式三居室,打造出一个舒适又温馨的美式家
- 墙面|过道能''挤''出空间 5种方式帮你充分利用每一寸,档次蹭蹭上涨
- 灵魂深处|全屋定制案例|儒雅新中式,展现灵魂深处的东方情怀
- |中式庭院,这才是最让我们心动的院子
- 邮储银行|邮储银行:推进“一站式”不动产抵押登记服务
- 传统|189平现移步换景,以景造景打造富有传统韵味的新中式设计
- 搬家公司|乡住免费图纸土建造价参考88万面宽15.5m 进深14.4m 三层新中式别墅
