【楼市内参】11月2日房地产行业关键词“保障性租赁住房”( 二 )

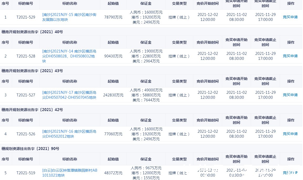
广州第三批集中供地共17宗地块总起价约434亿元,于12月1日出让11月2日,广州公共资源交易中心公布第三批集中供地清单。本次集中供地,共计推出17宗地,包括海珠1宗、白云3宗、黄埔3宗、番禺3宗、南沙4宗、从化2宗、增城1宗,总用地面积超120公顷,计容总建面296万平方米,起拍总价434亿,将于12月1日正式出让。
广州此次集中供地,南沙、黄埔地块,取消了“限房价”的要求。此外,番禺、白云的回炉地块,地价下降了1200-3200元/平米不等(不扣除配建)。
相对于前两个批次,本次集中供地,无论是数量还是金额,都有了大幅度的下降。其中,第一批次集中供地包含48宗地块,总计容建面928.5万平方米,挂牌总价901亿元;第二批次集中供地包含48宗地块,总计容建面879万平方米,挂牌总价1124亿元。
具体来看,该次集中供地中,起价最高地块为黄埔区长贤路以南、萝岭路以东CPPQ-A4-3地块,面积116545平方米,容积率3.0-3.5,建筑面积337751平方米,起价59.04亿元,起始楼面价17480元/平方米。单价最高地块为海珠区华洲路63号地块,用地性质为居住用地,面积44378平方米,起价38.36亿元,起始楼面价40375元/平方米。
滨江集团30亿小公募项目状态更新为“已反馈”11月2日,据深交所披露,滨江集团(002244.SZ)2021年面向专业投资者公开发行住房租赁专项公司债券项目状态更新为“已反馈”,更新日期为2021年11月1日。
据了解,该笔债券拟发行金额30亿元,类别为小公募,发行人杭州滨江房产集团股份有限公司,承销商及管理人为中信证券股份有限公司、中国国际金融股份有限公司以及中信建投证券股份有限公司。
此前于7月27日,滨江集团就曾公告称,为进一步改善债务结构、拓宽融资渠道、满足资金需求、降低融资成本,公司结合目前债券市场和公司资金需求情况,拟面向专业投资者公开发行公司债券。
该次发行的公司债券规模不超过人民币30亿元(含30亿元),可分期发行。债券发行期限不超过5年(含5年),可以为单一期限品种,也可以是多种期限的混合品种。
保利发展21.35亿元ABS项目状态更新为“已反馈”11月1日,据上交所披露,中联华夏资本-保利发展商用物业第二期资产支持专项计划项目状态更改为"已反馈"。
据了解,该笔债券拟发行金额21.35亿元,品种为ABS,原始权益人为保利发展控股集团股份有限公司,计划管理人为华夏资本管理有限公司。该项目受理日期为2021年10月14日,更新日期为2021年11月1日。
资料显示,保利发展(600048.SH)成立于1992年9月14日,法定代表人为刘平,注册资本为119.7亿元人民币,经营范围为房地产开发经营;物业管理。该公司大股东为保利南方集团有限公司,持股37.69%,而保利南方集团有限公司由中国保利集团有限公司持股100%。
广州第三批集中供地将于12月1日出让17宗地块 总起价约434亿元11月2日,广州公共资源交易中心公布第三批集中供地清单,共计出让17宗地,包括海珠1宗、白云3宗、黄埔3宗、番禺3宗、南沙4宗、从化2宗、增城1宗,总用地面积超120公顷,计容总建面296万平方米,起拍总价434亿,将于12月1日正式出让。
据了解,广州此次集中供地,南沙、黄埔地块,取消了“限房价”的要求。此外,番禺、白云的回炉地块,地价下降了1200-3200元/平米不等(不扣除配建)。
具体来看,该次集中供地中,起价最高地块为黄埔区长贤路以南、萝岭路以东CPPQ-A4-3地块,面积116545平方米,容积率3.0-3.5,建筑面积337751平方米,起价59.04亿元,起始楼面价17480元/平方米。单价最高地块为海珠区华洲路63号地块,用地性质为居住用地,面积44378平方米,起价38.36亿元,起始楼面价40375元/平方米。
推荐阅读
- 上港|从上港星江湾现场发来一条项目新消息,请查看
- 房价|房地产要变回支柱产业,你知道吗?
- 楼市|房子降价对楼市而言反倒是件好事
- 住房公积金|疫情之下,打破唯价格论 预见天津楼市未来趋势
- 西安|2022年西安楼市首批2537套价格公示,到底哪个更值得抢?
- 购房置业|今年起,农村老家的老房子,统统按照“新规”处理,子女提前知晓
- 沈阳|凶宅可以买吗?
- |2022年1月20日淮北楼市 淮北备案42套
- 兰州|1月的兰州楼市,该折腾还是得折腾
- 台州|杭州房价连续上涨12个月,涨幅领跑全国,楼市要回到2016年巅峰?
