
文章图片
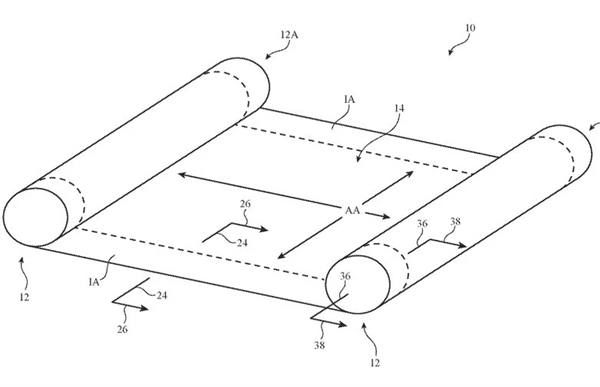
近期有消息称苹果可折叠iPad项目已被无限期搁置 , 但一份最新曝光的专利文件显示 , 苹果正致力于研发一款独特的卷轴式iPad , 这一消息瞬间点燃了科技爱好者们的好奇心 。 据报道 , 苹果的这项专利描述了一种可以将屏幕“卷起来收纳”的装置设计 , 该设备展开时可呈现大屏幕视觉效果 , 而携带时则可缩成一个精巧的外形 。
值得注意的是 , 这项专利技术的应用范围不仅仅局限于iPad 。 从专利中可以看出 , 苹果构想它还能适配手机、手表 , 甚至是折叠笔记本电脑等多种设备 , 展现出强大的通用性和扩展性 。 其实早在数月前 , 苹果就提交了此项专利申请 , 只不过近期才被大众知晓 。
【可折叠iPad被搁置后,苹果卷轴式iPad专利曝光】虽然专利的曝光让我们看到了苹果在技术创新上的大胆设想 , 但需要明确的是 , 专利获批并不等同于产品会马上投入量产 。
推荐阅读
- 红米K90系列再次被确认:双至尊版处理器加持,10月份登场
- 荣耀Magic8系列发布时间被确认:双芯+两亿潜望镜,暂定10月发
- 小米路由器新版被指“偷偷减配” 多名消费者投诉要求退货退款或更换
- 周鸿祎吃瓜“OpenAI被诉抄袭”:AI巨头开抢硬件入口
- 澎湃OS再次公布进展通报:Beta版问题被重点关注,你遇到过吗?
- 荣耀GT2系列被确认:标准版与Pro版齐开案,配置规格也很清晰了
- 被网友吐槽高价低配,销量却遥遥领先?华为让友商怒发冲冠
- 不在中国卖,却在国外被暴抢的新机:外观有点骚,价格很感人
- 荣耀X70再次被确认:8100mAh+OLED屏幕,20号之前发布!
- 华为Nova15系列再次被确认:6.96大屏+麒麟8系,影像是定制!
