龙润集团老板——焦家良滇池边千万豪宅司法拍卖,引来3人竞拍,7千次围观,最后溢价96%成交。
具体情况是什么?一起来看看吧!
12月13日,昆明市中级人民法院在阿里拍卖上公开拍卖滇池度假区一套豪宅。
公告显示,该房源位于滇池高尔夫小区,建筑面积约503平,为别墅,评估价约1901万元,起拍价约1171万元。
因房主无法按期偿还上海浦东发展银行昆明分行的借款,被银行申请执行司法拍卖。

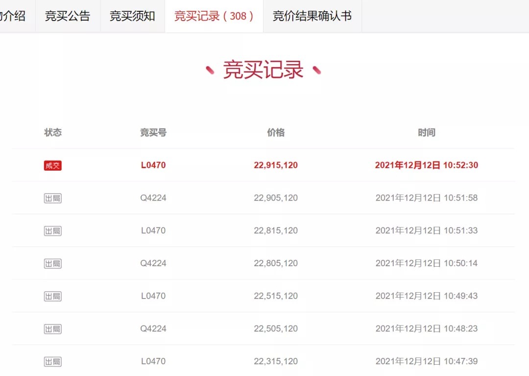
图源:阿里拍卖
截止报名时间,本次拍卖有3人报名竞标,但足足有7000次围观,场面火爆!
3人经过308轮激烈竞拍后,最终被其中一人以2291万元的价格拍下,溢价率接近96%。
按照成交价计算,该房源成交单价约4.55万/平。

图源:阿里拍卖
滇池高尔夫是滇池度假区高端别墅项目,毗邻海埂大坝、民族村、海埂公园等景区,位置优越。
安居客数据显示,该小区房源价格约4.2-4.4万/平,是昆明二手房价格排行前10的小区。

滇池高尔夫(来源司法拍卖网)
值得一提的是,此次拍卖标的所有人焦家良,是云南龙润集团的老板,来头不小。
按照公司介绍,龙润集团以生物资源开发、地产开发、有色金属开发为主。
在云南先后开发和打造了龙润大厦、楚雄盘龙云海国际城、昆明盘龙云海小区、呈贡天润康园等多个项目,累计建设面积超过200多万平。
但天眼查显示,目前焦家良已被法院列为失信被执行人。

来源天眼查
现在焦家良豪宅被司法拍卖,说明焦家良和龙润集团面临不少债务问题。
对此你怎么看,快来评论区聊聊吧!
来源:昆明楼市一线
如有爆料、投稿、商务合作、侵权,请联系公众号云南楼市观察沟通处理。
【 高尔夫|昆明滇池附近这套别墅拍卖,3人竞拍308轮,2291万成交!】本文内容仅供参考,本号保留最终解释权,本号不承担法律风险。
推荐阅读
- 昆明|深圳安驰状告昆明通盈房地产等,案由系票据纠纷
- 昆明|【贝壳成都资讯】2021 年房地产市场呈现出来的五大特点(一)
- 昆明|想要居住舒适,又想房子能升值,千万别选这5种
- 昆明|昆明楼市库存新房那么多,昆明房价上涨动力不足
- 昆明年底楼市表现活跃 房企积极抢收供求上扬|第53周 | 供求
- 网签|阳光城降价后续!昆明业主要退款,开发商:仅这2日的客户可退!
- 昆明|天津链家资讯|买房刚需注意事项
- 昆明|今年起,房产中介将全面取消?“新变化”来了,2亿多人受益
- 昆明|无人出价!云南马关县一处96平住宅,40万没人要!
- 落户|好消息!在昆明购房,政府最高补贴8万元!
