
文章图片

文章图片

文章图片

近年来 , 三星、华为、小米等厂商在折叠产品领域持续发力与创新 。
折叠屏手机逐渐成为科技领域的热门话题 , 这使得越来越多用户对苹果的折叠屏iPhone充满期待 。
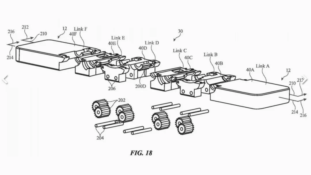
实际上 , 苹果一直有在进行对折叠屏技术的探索和研发工作 。 这不 , 苹果最近又在折叠屏领域有了新的进展 , 又获得了一项和折叠屏相关的专利 。 据最新公示的清单 , 苹果这项新专利主要是关于折叠屏的铰链设计 。
这项技术改进了苹果此前专利中的铰链设计 , 采用更复杂的传动装置 , 由相互连接的指状物和摩擦离合器组成 , 形成月牙形槽 , 允许每个环节实现相对旋转 , 并将旋转轴移至环节外部 , 从而实现更灵活的折叠 。
这意味着 , 当折叠屏iPhone呈现出不同形态的时候 , 可以减少铰链对于显示面板的作用力 , 从而减少折痕 , 且可延长折叠屏的使用寿命 。
外界普遍认为 , 苹果至今仍未推出折叠屏手机的最大阻碍 , 就是折痕问题 。 苹果对产品的品控向来严格 , 如若推出折叠屏手机 , 必然是要在折痕等问题上做出最大改善后才会发布 。
而这次公开的新专利 , 也意味着苹果在改善折叠屏手机的折痕问题上又有了新的突破 。 就算推迟几年发布折叠屏iPhone , 苹果拥有更充足的研发时间 , 使技术更为成熟 , 以后想彻底消除折痕 , 应该也不是不可能 。
至于折叠屏iPhone的推出时间 , 目前业界已有了诸多爆料消息 。 有业界人士推测 , 基于2027年将是iPhone发布20周年这一具有特殊纪念意义的时间节点 , 苹果极有可能会在该年度推出其首款折叠屏手机 , 当年iPhone X的出现就是最有力的证明 。
不过 , 彭博社记者马克·古尔曼等权威爆料人则给出了更早的时间预测 , 认为苹果最早可能会在2026年底推出折叠屏iPhone 。 知名显示器分析师Ross Young还预测称 , 苹果的加入将为当前低迷的可折叠手机市场注入新活力 , 苹果推出折叠屏iPhone后 , 首年可折叠市场将增长30%以上 , 并在随后两年保持20%的增长率 。 【iPhone 折叠屏曝光,这回真的猛!】
推荐阅读
- 任天堂Switch 2外观与屏幕设计被发,3D打印模型引发关注
- vivo豁出去了,6500mAh+等深四曲屏,发布三个月跌至1207元
- 10天销量突破100万台,2K屏超声波指纹,可以闭眼入手的小米手机
- iPhone17系列设计曝光?横向摄像头排列?苹果只会改边框设计的?
- 2K直屏+超声波指纹,屏幕进步最大的国产旗舰,流畅度不输iPhone!
- 苹果最新专利揭秘,iPhone将迎环保大变革!
- 超小三防5G手机喜欢吗?4.7寸高刷屏+6200毫安电池+热成像相机!
- 小屏扎堆?还有中端定位
- iQOO不愿妥协,天玑9400+超声波指纹+直面屏,值得买的中端机!
- 自研基带+A18!外媒确认iPhoneSE4明年发布,起售价或4000左右
