
文章图片

【落子上海,EDA企业总部迁址】
业内认为 , 九同方总部迁址是为了更好地融入长三角半导体产业生态 。
近日 , 相关信息显示EDA企业九同方发生了新的变更 , 公司三大创始人万波、李红和刘民庆退出直接投资上海九同方技术有限公司 , 华为哈勃成为其最大股东 , 公司总部迁址上海 。 不过 , 三人还通过武汉九同方企业管理合伙企业(有限合伙)持有公司13.1325%股份 。
九同方微电子有限公司创立于2011年11月 , 由留美博士万波、刘民庆联合李红共同创办 , 聚焦电磁的“全尺寸”和“多物理场”仿真两个领域 , 融合芯片设计、制造和封装各个环节 , 对标国际标杆产品 。 此次总部迁至上海 , 业内普遍认为是为了更好地融入长三角半导体产业生态 。
九同方的芯片级电磁仿真工具eWave支持硅基(CMOS/SOI)和化合物(GaAs/GaN)等多种工艺;封装级电磁仿真工具eWave3DIC支持2.5D/3DIC及先进封装电磁设计;系统级电磁仿真工具eCPS支持射频芯片 , 异质异构Chiplet、全场景封装、PCB、天线系统等设计场景仿真 。
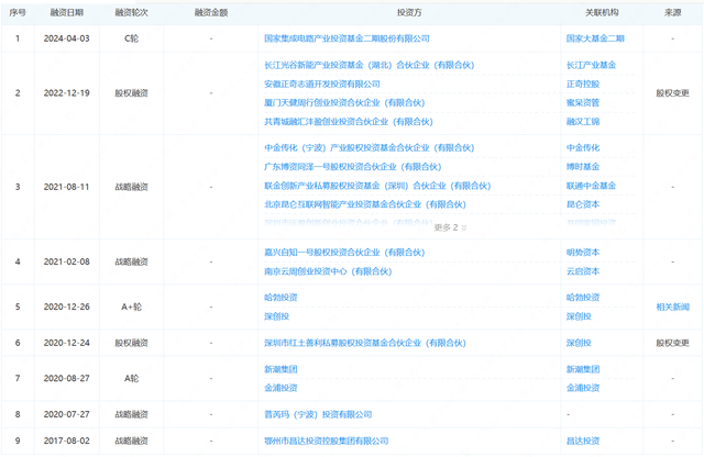
根据企查查显示 , 九同方共计完成9次融资 。
截至目前 , 九同方比较重要的融资包括:2020年8月 , 完成上海国际集团旗下的金浦投资、新潮集团的天使轮融资;同年12月 , 哈勃投资联合深创投、明势资本、云启资本对其进行了A轮注资 , 值得注意的是 , 这是哈勃旗下首家EDA领域的被投公司;2022年年底 , 哈勃投资再次出资 , 联投方包括长江产业基金、华融越信基金等 。 至此 , 哈勃投资跻身九同方最大股东 , 持股比例为11.1157% 。 2024年 , 国家集成电路产业投资基金二期股份有限公司成为九同方股东 , 持股占比为7.781% 。
华为哈勃投资了四家EDA公司根据公开资料 , 哈勃科技投资有限公司成立于2019年 , 法定代表人为白熠 , 注册资本为27亿元人民币 , 一般经营项目是创业投资业务 。
值得一提的是 , 九同方是华为哈勃投资的第四家EDA企业 。 此前 , 哈勃还投资了上海阿卡思微、上海立芯软件和无锡飞谱电子 。 业内人士分析指出 , 华为自2019年被列入美国实体清单后 , 面临EDA工具断供的严峻挑战 。 通过投资九同方等国内EDA企业 , 华为正试图逐步建立自主的工具链体系 。
上海阿卡思微成立于2020年5月 , 旗下全资子公司成都奥卡思微电科技有限公司位于成都高新区 。 主营业务为集成电路设计自动化系统的研发和咨询 。 目前成功推出了两款逻辑验证产品 , AveMC自动化验证工具软件和AveCEC等价验证工具软件 。
上海立芯软件成立于2020年 , 专注于数字电路设计实现、物理验证和签核以及3DIC/chiplet系统级设计等集成电路电子设计自动化工具开发 。 目前立芯在上海、北京、福州、长沙、成都等地设立了多处研发中心 , 公司团队近350人 , 已经推出支持成熟工艺和先进工艺的数字实现平台LeCompiler、电源完整性平台LePI、物理验证平台LePV以及3D-IC设计平台Le3DIC 。
无锡飞谱电子成立于2014年 , 聚焦 CAE/EDA 行业系列仿真工具和技术的研发 。 其主要产品Rainbow Studio实现了从几何建模、网格剖分、仿真计算及后处理的一体化集成操作 , 极大地提高了仿真效率和用户体验 。 该产品将核心电磁算法软件化 , 以有限元、矩量法为基础 , 结合物理光学、弹跳射线追踪算法 , 并辅以自主建模驱动引擎技术、自适应迭代网格技术、高阶曲面四边形网格技术、大规模并行计算技术等一系列先进技术 , 实现了从电小到电大、从射频到太赫兹的全尺寸、全频段的仿真分析能力 。
*声明:本文系原作者创作 。 文章内容系其个人观点 , 我方转载仅为分享与讨论 , 不代表我方赞成或认同 , 如有异议 , 请联系后台 。
想要获取半导体产业的前沿洞见、技术速递、趋势解析 , 关注我们!
推荐阅读
- 三大EDA巨头倒戈 老美被迫自拆铁墙
- 三大芯片EDA巨头发布声明:正恢复对华供应
- 美国解禁EDA背后:国产EDA崛起,再禁也没意义,反让美企损失惨重
- 全球三大EDA巨头恢复供应:对中国出口限制已撤销
- 当5G-A遇上AI:探访上海联通揭开未来生活的三大变化
- 让GUI智能体不再过度执行,上海交大、Meta联合发布OS-Kairos系统
- 打造全球双万兆之城,上海电信如何有所作为?
- 美国断供EDA影响不大:小米玄戒O2正在顺利研发中 或还是3nm!
- 新EDA工具推出,用于小芯片集成、封装验证
- MWC25上海 | 爱立信吴日平:中国市场如何更好引领全球电信业发展
