
文章图片

文章图片

文章图片

文章图片

2025年9月17日 , 互联网巨头Meta会正式发布Hypernova智能眼镜 , 这将是AR领域的里程碑事件 。
众所周知 , Meta对VR、AR乃至智能眼镜布局已久 , 十多年前就砸下天文数字的巨资布局 , 虽然经历了行业的跌宕起伏 , 但是Meta的创始人扎克伯格一直坚信 , 这个领域将诞生下一代计算平台 , 因此 , 他不遗余力 , 如今 , 产品也即将面世 。
(资料图:扎克伯格)
那么 , 这款万众期待的产品 , 将采用什么样的光学显示方案呢?多个信源显示 , 出于ToC市场的考量 , 它将采用LCoS+光波导光学方案 。
此前 , 谷歌的Google Glass 1和光学巨头Magic Leap One , 也都采用了LCoS微显示屏 。
为什么大厂都爱LCoS+光波导?因为LCoS+光波导有成熟的产业探索和反馈迭代 , 被认为是更快推动消费级AR普及 , 迈向千万级出货量的务实选择 。
(资料图:Magic Leap One)
大家之所以看好“LCoS+光波导”方案的未来 , 源于它的优势涵盖多个关键层面:功耗低、成本可控、轻薄体小、画质也更高清 。
下面给大家简单分析下它的优缺点 。
优势一:功耗低
功耗是考量AR设备的重要因素之一 。 相对于MicroLED , LCoS具有非常显著的物理优势 。
MicroLED是自发光显示技术 , 也就是每个像素都能独立发光 , 这意味着 , 每一个激活的像素都会产生独立的功耗 , 激活像素越多 , 总功耗就越高 , 尤其是显示图片等信息量大的画面时 , 功耗会偏高 。
而LCoS本身不发光的 ,通过“背光+液晶偏振控制”成像 , 就算显示高信息量图片 , 也只是通过液晶调节光的透过或反射 , 背光功耗相对稳定 , 功耗优势则更加明显 。 相关资料显示 , 采用“LCoS+光波导”方案 , 功耗可降低30%到50% 。
因此 , 在同等续航的需求下 , “LCoS+光波导”的低功耗特性 , 可以让AR眼镜的电池容量缩得更小 , 这样减轻眼镜的重量 。 另外一个层面 , 如果保持电池大小不变 , 那么续航会增加 , 对消费端的用户来说 , 是非常重要的卖点 。
优势二:成本可控
“LCoS+光波导”方案的另一个优点 , 是成本可控 。 LCoS芯片的制造工艺和传统的CMOS工艺是兼容的 , 这意味着 , 它具有大规模生产的潜力 。 中国作为制造业大国 , 一旦一个产品上了规模 , 就同时进入了快迭代模式 , 技术本身和工艺都会得到改良 , 不断推陈出新 , 成本就会越来越低 。
资料显示 , 如今采用“LCoS+光波导”方案的AR设备成本 , 相比之前 , 已降低了40%到60% , 而接下来如果有更好的迭代 , 更大的规模 , 那么采用该方案的产品在市场上则更具价格竞争力 。 在另一个层面 , 该方案也加速了AR产品的普及进程 。
Meta的Hypernova智能眼镜 , 之所以放弃MicroLED+衍射光波导方案 , 改用LCoS+阵列光波导方案 , 很大可能是出于成本考虑 。 成本足够低 , 才可能推动消费级市场的爆发 。
(资料图)
优势三:轻薄体小
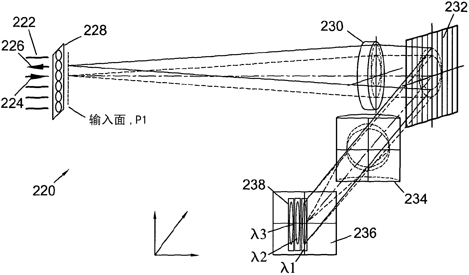
传统的AR显示方案 , 一般会依赖反射棱镜或半透半反镜 , 会导致AR眼镜整体体积大、重量重 。 而光波导一般都是采用玻璃或高分子薄膜材质 , 厚度可以压缩到1mm以下 , 重量只有几克重 , 很方便集成在类似普通眼镜的镜架中 。 我们知道 , LCoS芯片本身属于“微显示”范畴 , 尺寸可缩小至0.5英寸以下 , 它跟光波导结合能让AR设备重量控制在50g以内 , 接近普通近视镜的佩戴体验 。
(资料图)
“LCoS+光波导”方案 , 利用非常巧妙的全反射原理 , 将光线在极薄的波导片内进行传输与传播 , 这样不但减少了光学系统的空间 , 还大幅度提升了佩戴的舒适度与便捷性 。
优势四:画质高清
我们知道 , LCoS(硅基液晶)是一种反射式微型显示器 , 像素可以做的更小 , PPI可以做的更高 。 这意味着 , 它可以提供非常高的分辨率和细腻的图像 。 如果用来做工业巡检的AR眼镜 , 它能清晰呈现设备零件的细微纹路 。 如果应用到消费级AR产品中 , 也能做到流畅显示文字、图标 。
(资料图)
这对用户来说 , 无疑解决了最核心的问题 , 毕竟AR眼镜 , 高清晰度的体验是第一需求 , 因此AR眼镜厂商在考虑用户问题的时候 , 在产品设计阶段会优先考虑“LCoS+光波导” 方案 。
当然 , 虽然大家看好“LCoS+光波导”方案 , 但现阶段 , 它也不是百分百完美的 , 也有一些需要解决和迭代的问题 。
首先是亮度与环境光的冲突问题 。 LCoS的核心特征是通过反射光实现成像 , 在实际场景中 , 环境光也会照射到LCoS芯片的反射层 , 容易与背光调制后的成像光叠加 , 导致看到的AR画面出现泛白 , 对比度也会大幅下降 。 如果你带着AR眼镜到户外使用 , 碰到正午强光的时候 , AR画面甚至可能会被淹没 。 这种情况下 , AR的体验感也会降低 。
还有就是外部光源占空间的问题 。 LCoS 依赖外部光源提供亮度 , 需要一个独立的激光或LED光源模块当前主流的LED光源模块大概占AR眼镜总空间的 20%到30% 。 如果要提升亮度 , 就得需要增加 LED数量或采用更大功率的光源 , 这样会进一步扩大模块体积 。 因此 , 具有小体积和高亮度优势的激光光源就成了最佳选择 。
当然 , 尽管有不少亟待解决的短板 , 但由于“LCoS+光波导”方案整体的综合优势 , 很多硬件厂商已经采用了该方案 , 除了我们熟悉的Meta之外 , 市场上也有了不少用了该方案的产品 。
最典型的是Magic Leap One , 它是全球AR领军企业Magic Leap推出的首款产品 , 曾是增强现实圈标杆性产品 , 也是AR发展史上里程碑式的存在 。 2017的一份专利显示 , Magic Leap One用的是硅基液晶(LCoS)显示方案 。
(资料图)
国内AR公司亮风台的HiAR G300 , 是全球首款光学透视阵列光波导AR眼镜 , 主要服务于AR协作、空间作业、AR培训、沉浸导览等企业级应用场景 。 它就是采用LCoS +光波导方案 。 据介绍 , 它可以做到了透光率>85% , 可以实现高清、高透、全彩、低畸变显示 , 还具备双目异显、空间计算等功能 , 是一个不错的B端企业级产品 。
(资料图)
而现在大家最关注的Meta Hypernova智能眼镜 , 采用LCoS+阵列光波导方案已经是板上钉钉的事情 。 Meta在过去十年 , 疯狂下注VR、AR和AI眼镜 , 就是为了抢夺其在未来新计算平台的社交场景生态位 。 所以它的产品会首先考虑 , 能不能在消费级市场引爆 。
(资料图)
当然 , 目前业界也有一种声音 , 认为MicroLED+光波导路线也表现不俗 。 毋庸置疑 , MicroLED有它独特的优势 。 但是 , 从技术发展的成熟度来看 , MicroLED是“预期技术” , 虽然有非常明显的凸出能力 , 但是综合大问题也不小 , 也许未来某个临界点 , 取得大突破之后也成为重要光学技术路线 。
目前看 , LCoS更适合当下 , 它是“就绪技术” , 业界多年的探索、沉淀和迭代 , 成熟度已经很高 , 更适合当下大面积使用 。
Meta 、Google和Magic Leap等众多一线厂商的选择 , 意味着 “LCoS+光波导” 方案的可行性与优势 , 通过不同的设计与优化迭代 , 越来越在画质、体积、功耗等方面取得了较好的平衡 。 随着 AR 行业的持续升温 , 专业的光学巨头也纷纷布局 , 加入到 “LCoS + 光波导” 方案的研发中 。 未来有望在设计、材料、芯片、算法、工艺层面不断推陈出新 。
值得一提的是 , 传统的“LCoS + 光波导” 方案一般采用双光机设计 , 所以整体上看起来比较笨重 , 成本也是偏高的 , 接下来要想大规模切入消费级 , 也就是C端市场 , 系统架构的创新也非常重要 。
目前 , 业内大多数专家都认为 , 应该采用一拖二设计 。
一拖二设计的核心 , 是采用单个光机 , 借助特殊设计的光栅结构 , 将光机输出的光线一分为二 , 最终实现双目显示的目的 。
(资料图)
也就是说 , 它直接削减了一个核心显示引擎 , 大幅降低了系统的整体复杂度、功耗和成本 , 同时为镜腿内部腾出了宝贵的空间以容纳更大的电池或更强大的计算单元 , 使得整机的重量也可以做到跟普通眼镜差不多 。
“LCoS+光波导”的光学显示路线 , 与一拖二架构的完美兼容 , 两者的结合 , 产生了综合权衡下的竞争优势 。
这种优势 , 有可能快速推动消费级AR眼镜的普及 。
这需要行业不断地努力 , 今年以来 , 越来越多的光学巨头加入到行业中来 。 他们的凭借其在光学技术领域深厚的研发积累与创新能力 , 正积极投身于该方案的技术研发与产品创新中 。
在即将到来的光博会中 , 业内普遍期待这些光学巨头能够带来突破性的新技术 。 目前已经有相关巨头宣布 , 这次光博会将展示最新的AR成果 。
【深度剖析:Meta智能眼镜选择“LCoS+光波导”方案的四大原因】在AR行业迈向爆发的前夜 , 光学显示方案作为核心瓶颈 , 其突破至关重要 。 “LCoS + 光波导”方案凭借在画质高清、轻薄结构、低功耗以及低成本等方面的显著优势 , 如果结合“一拖二”设计 , 将成为目前最具潜力的AR光学显示解决方案 。
推荐阅读
- 百元价位的全能战士?弱水琉璃MK2深度体验报告
- 扎克伯格的豪赌初见成效?Meta新方法让LLM长上下文处理提速30倍
- Meta超级智能实验室首篇论文:重新定义RAG
- 英伟达推出通用深度研究系统,可接入任何LLM,支持个人定制
- 联想三高管IFA2025深度对话:AI如何重构PC形态与全球化品牌矩阵
- 百元价位的全能音频伴侣:铄耳D02全场景HiFi耳机深度体验
- AI生成苹果Metal内核,PyTorch推理速度提升87%
- 混乱、内耗、丑闻:Meta考虑向Google、OpenAI低头
- R-Zero 深度解析:无需人类数据,AI 如何实现自我进化?
- 一天之内,Meta痛失两员大将,小扎钞能力失效?
