
文章图片

文章图片

文章图片

文章图片

文章图片
佛山顺德楼市回暖 , 就连法拍房都不愁卖了!
近日 , 顺德又有人花上千万买了一套法拍房 , 到底值不值?
说实话 , 从拍卖图来看 , 这套房子确实挺破的 , 但却不妨碍竞拍人花上千万抢着买 。
咱先来看看这房子“破”成什么样:
据拍卖网站上面显示信息 , 拍卖财产位于佛山市顺德区北滘镇三桂村委会碧桂园豪园海景三街18号 。
【顺德|加价335万,顺德一别墅遭疯抢!高端法拍房真的不愁卖吗?】该小区是顺德有名的富人区 , 不少大老板都居住在此!
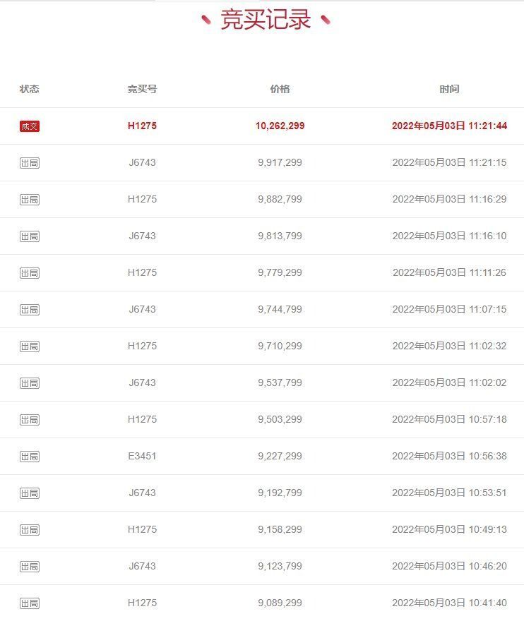
本次碧桂园别墅拍卖 , 共有14677人次围观 , 法拍从起拍价692万 , 最终1026.2万成交!
该房产独用土地面积433.7平方米 , 套内建筑面积194.5平方米 , 房屋总层数3层 , 户型为4室2厅1厨5卫 。
土地性质国有出让
土地使用权终止日期2068年4月30日
屋内仍有很多杂物未清空 , 外墙也长满了青苔 , 带有基本的装修 , 如果想要住得舒适点 , 估计就要重新装修或重建了 。
该房产面积倒是挺大 , 套内面积近200方 。 不过装修比较一般 , 房屋也有二十年的楼龄了 。
据拍卖财产已知的瑕疵披露 , 该房产为异地房产 , 法院未予以清场 , 本次拍卖不包含室内财产 。 截止至2022年3月9日未发现有人居住 , 房产按现状拍卖 , 成交后按现状交付 。
还是要提醒一下:法拍房有风险 , 拍卖时一定要了解清楚房子的情况 。
你觉得值吗?留言区等你 。
顺德房姐综合阿里法拍
文案:阿喵 责编:阿喵
推荐阅读
- 顺德|和邻居发生口角,一气之下卖掉一楼买顶楼,现在住着舒服又自在
- 中签率|想不通!厦门一套房子加价近20万成交,原因是什么?
- 顺德|河西区卖得好的楼盘,都有啥特点?厉害了!
- 顺德|夫妻一共97笔网贷,信用卡11张逾期6次,还能公积金贷款买房吗?
- 杭州|89平房子加个车位380万,准备交定金签约,房东突然变卦加价20万
- 顺德|启动招标 顺德杏坛中学迎来扩建 !总投资约9000万元
- 顺德区|佛山顺德发布2022年征地草案 总规模587.35公顷、涉19个片区
- 顺德|时尚中带点复古感,洋气不过时的新中式别墅,主体造价仅30来万
- 顺德|杭州楼市现状:钱江世纪城开发,小区太多了
- 成交量|一周榜单:大洗牌!荷城盘98套夺冠 顺德7盘霸屏
