
文章图片

文章图片

文章图片
了解手机行业的朋友都知道 , 目前的手机影像已经到了一个瓶颈期 。
由于手机内部空间有限 , 手机相机的CMOS传感器尺寸、长焦镜头模组大小都受到了限制 , 一旦过大就会导致整个镜头模组的过度凸起 , 影响整个机身设计的协调性 , 美感与手感大打折扣 。
尤其是这两年各个一线品牌的超大杯旗舰 , 纷纷用上了双长焦方案 , 给手机内部空间的堆叠带来了进一步的压力 。
如何在保证影像能力不变甚至提升的基础上 , 解决摄像头模组过度凸起的问题 , 这几年一直是整个行业的焦点难题 。
截至目前 , 解决方案主要有以下几种 。
一是在外观设计上 , 给镜头Deco进行阶梯化处理 , 弱化视觉上的厚度 。
二是通过潜望设计 , 在内部空间上减薄镜头模组的厚度 。
三是通过镜头的可伸缩设计 , 在非长焦场景下 , 降低镜头模组的厚度 。
四是放过机身内部 , 转而寻求通过外接长焦镜头 , 实现更强大的影像效果 。
现在 , 华为带来了第五种方案 。
6月6日 , 国家知识产权局公布了一项“光学镜头、摄像头模组及电子设备”专利发明申请 , 专利发明人为华为技术有限公司 。
专利摘要显示 , 这个专利发明申请 , 能够解决相关技术中的摄像头模组占用空间大 , 导致电子设备厚度较大的问题 。
怎么做到的?
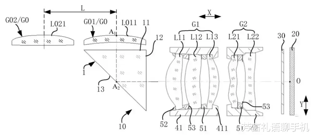
简单来讲 , 该方案可以拆为三部分:
- 第一部分:有两个前透镜组 。
- 第二部分:有一个转折元件(三角棱镜) , 它的位置可以变动 。
- 第三部分:后透镜组 。
转折元件在B位置时 , 与第二个前透镜组+后透镜组 , 组合工作 , 实现第二个长焦焦距 。
也就是说 , 该方案在一个CMOS传感器上实现了两套长焦方案 , 相比传统的双长焦方案 , 少了一个CMOS传感器 , 当然就大大节省了机身内部空间 。
根据目前各方爆料消息 , 华为Pura80系列有望采用这样的“一底双长焦、可切换长焦镜头”方案 。
【又是华为!黑科技公布,手机专利打破行业瓶颈,再一次突破想象】从可变光圈到伸缩镜头 , 再到一底双长焦 , 华为这两年在手机影像方面的新方案每次都能让人眼前一亮 , 创新与引领潮流的实力毋庸置疑 。
【外挂镜头有望成新趋势】除了上面介绍的“一底双长焦” , 这两年外挂手机镜头方案也有兴起的势头 。
比如:小米在MWC 2025上公布的预研产品—— 磁吸式可拆卸镜头 , 官方命名为“小米模块光学系统” 。 这个镜头模块自带超过1英寸的CMOS传感器 。
realme也推出了可更换镜头概念机——真我Ultra , 可外接234mm长焦镜头 , 实现10倍光学变焦 , 堪称望远镜 。
如果说小米和真我的外挂镜头还是概念产品 , 那么今年4月发布的vivo X200 Ultra则实现了外挂镜头方案的市场化量产 。
vivo X200 Ultra配套有一颗外挂镜头 —— 与蔡司联合研发的 2.35倍长焦增距镜 。 据官方介绍 , 该镜头采用开普勒结构提升远摄清晰画质 , 与85mm 长焦镜头搭配升级成为等效200mm焦距的超长焦镜头 。 其配备增距镜的摄影师套装版一经上线便很快售罄 。
根据数码博主 @数码闲聊站 爆料 , vivo、小米、OPPO和华为都有新机在评估测试外挂镜头 , 下一代估计不止一家会“开挂” 。
无论是“一底双长焦”还是“外挂镜头” , 都是打破目前行业影像瓶颈的新探索 。 在这样一次又一次的创新探索中 , 相信手机影像表现终将迎来又一次的蜕变 。
推荐阅读
- 华为“哈勃”布局60余家芯片企业,构建去美化的供应链生态
- 华为nova15曝光:针孔微边直屏+满分影像,一见钟情
- 华为也有高性价比,从4699元跌至2268元,512GB次旗舰降成中端机
- 华为Mate80Pro惊艳曝光:巅峰五摄,强得不像实力派
- 华为Mate80续航黑科技曝光,再次定义续航极限
- 华为旗舰“新卷王”诞生,16GB+512GB跌价2500元,还有100倍变焦
- 激活销量498万!华为mate 70系列降价后,销量暴涨
- 华为昇腾AI准万亿MoE模型技术突破
- 华为618冲销量,512GB高配突降至1756元,卫星通信+6100mAh
- 华为开启降价模式,麒麟9010+512GB+红枫影像,直屏旗舰跌至5399
