
2月18日,扬州2022年第一场土拍落幕,本次土拍共一幅地块,即为GZ342地块。最终该地块被深物业&旅发联合摘得。
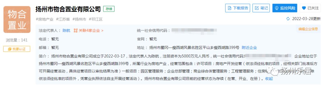
乐居获悉,3月17日扬州市物合置业有限公司成立,正是GZ342地块项目开发公司。
01、注册资本5000万元!物合置业由深物业、旅发联合控股。
3月17日,扬州市物合置业有限公司成立,法定代表人为陈航,注册资本为5000万元人民币,企业地址位于扬州市蜀冈—瘦西湖风景名胜区平山乡瘦西湖路399号,所属行业为房地产业。

该公司由扬州旅发置业有限公司和深圳市物业发展(集团)股份有限公司联合控股。


该公司主要成员有陈航、王桂林、吕建、周进开、祁婧、顾伟敏。
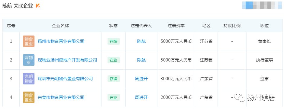
陈航关联企业有4家,分别为扬州市物合置业有限公司、深物业扬州房地产开发有限公司、深圳市光明物合置业有限公司、东莞市物合置业有限公司。

王桂林关联企业有3家,分别为扬州市物合置业有限公司、深物业扬州房地产开发有限公司、扬州华盛投资发展有限公司。

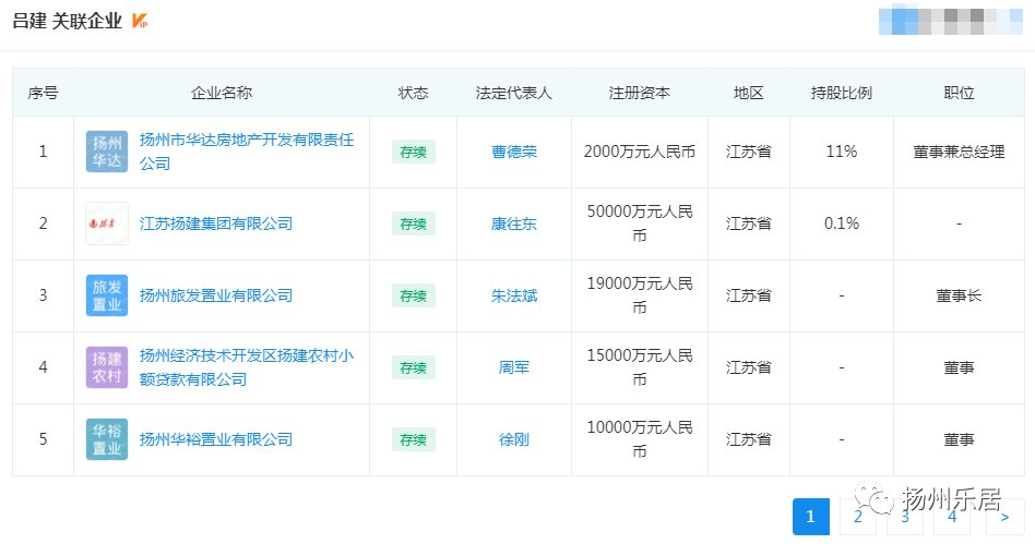
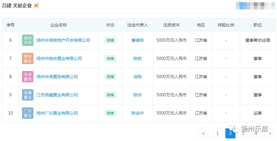
吕建关联企业有19家,有江苏扬建集团有限公司、扬州旅发置业有限公司、扬州华裕置业有限公司、扬州华泽置地有限公司、扬州广沁置业有限公司等。


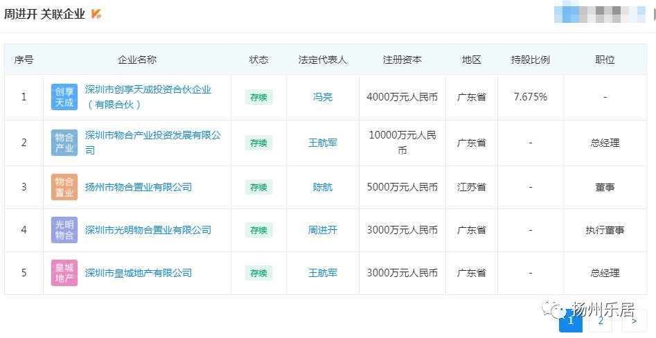
周进开关联企业有8家,有扬州市物合置业有限公司、深圳市光明物合置业有限公司、深圳市皇城地产有限公司等。


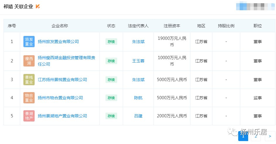
祁婧关联企业有8家,有扬州市旅发置业有限公司、江苏扬州景栈置业有限公司、扬州景湖地产置业有限公司等。


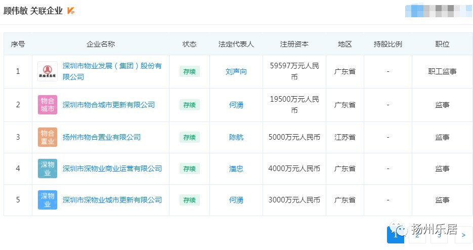
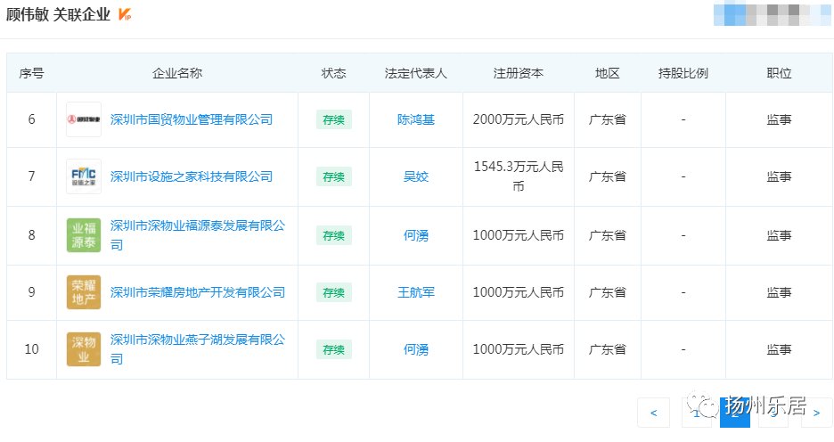
顾伟敏关联企业有12家,有深圳市物合城市更新有限公司、深圳市深物业商业运营有限公司、深圳市深物业城市更新有限公司等。



02、成交总价8.35亿!深物业&旅发联合摘得GZ342地块。
2月18日,扬州迎来了2022年的第一场土拍,这场土拍只有一幅地块。最终被深物业&旅发联合摘得。
【景区生态健康谷GZ342地块档案】
土地位置:平山乡,东至引水河滨河绿地,南至隋炀路,西至瘦西湖路沿路绿地,北至规划用地边界
出让面积:195633㎡
容积率:1<R≤1.56
土地性质:商住
成交总价:8.35亿
成交单价:4270元/㎡
成交楼面价:2737元/㎡
拿地房企:深物业&旅发

推荐阅读
- 薛典路|中信城开薛典路地块项目建设工程变更批前公示
- 衙门口|新地降价?!北京第二波预挂地来袭,12宗地块上架!三环的太阳宫这次...
- 海口|3月海口土拍揽金超5.3亿元,4月份待拍地块含高品质商品住宅用地!
- 公示|关于红塘湾HTW-07-19地块酒店一期项目建筑设计方案的批前公示
- 地块|湖滨片区规划调整公布,涉及24幅地块建筑面积107万平
- 绿景|超6.47万㎡!拟于5月出让!石湾里水季华厂地块旧改方案出炉
- 合肥|本以为合肥楼盘全面进入品质时代,可有地块竞品质却竞了个寂寞!
- 规划|东港商务区B10地块项目规划方案公示
- 南昌|东港商务区B10地块项目规划方案公示
- 2022年成都首轮集中供地落幕,4宗地块均底价成交|集中土拍⑨| 新都区
